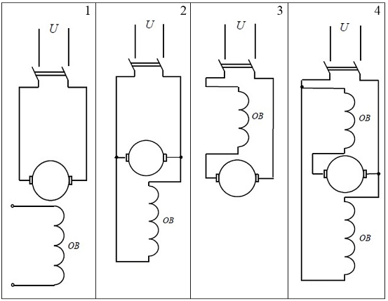
Выберите схему ДПТ смешанного возбуждения (выбрать один правильный ответ из четырех и в поле ввода ввести целое число от 1 до 4, без пробелов) 
Другие предметы Университет Схемы двигателей постоянного тока схема ДПТ смешанного возбуждения электрические схемы электрика университет электроснабжения выбор схемы ДПТ электротехнические системы ДПТ смешанного возбуждения
Чтобы выбрать правильную схему для двигателя постоянного тока (ДПТ) смешанного возбуждения, давайте сначала разберемся, что такое смешанное возбуждение.
Смешанное возбуждение - это комбинация параллельного и последовательного возбуждения. В такой схеме часть обмотки возбуждения подключена последовательно с якорем, а другая часть - параллельно. Это позволяет двигателю иметь хорошие характеристики при изменении нагрузки.
Теперь рассмотрим, как можно определить правильную схему:
Теперь, когда вы знаете, как идентифицировать схему, выберите правильный номер из предложенных вариантов. Если вы видите схему, которая соответствует описанию смешанного возбуждения, введите номер, соответствующий этой схеме.
Например, если правильная схема - это схема номер 2, то введите 2.